Наглядное изображение и запасные части редукторов RT/MRT
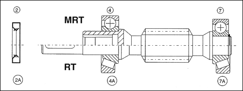
Наглядное изображение (внешний вид редуктора)
При заказе самостоятельных запасных частей к номеру и наименованию детали необходимо добавить также комплектное типовое обозначение.

Запасные части

|
1 |
червяк |
7 |
подшипник червяка |
|---|---|---|---|
|
2 |
маслостойкое уплотнение |
8 |
предохран. кольцо |
|
3 |
фланец электродвигателя |
9 |
лапка (фланец) |
|
4 |
подшипник червяка |
10 |
червячное колесо |
|
5 |
картер редуктора |
11 |
маслостойкое уплотнение |
|
6 |
крышка |
12 |
подшипник червячного колеса |
Вал червячного колеса может опираться на однорядные радиально-упорные подшипники, как указано для позиции 12. Такие подшипники способны передавать большие аксиальные и радиальные усилия, по сравнение с простыми шарикоподшипниками.

|
Подшипники 4-7 MRT, масляное уплотнение 2 и для RT подшипников 4А-7А и масляное уплотнение 2А |
||||||
|---|---|---|---|---|---|---|
|
тип |
электродвигатель IBC |
MRT |
RT |
|||
|
подшипник 4 |
подшипник 7 |
масляное уплотнение |
подшипник 4A-7A |
масляное уплотнение 2A |
||
|
28 |
56 |
HK 2016 |
6200 |
20x30x7 |
6200 |
10x26x7 |
|
|
20x26x16 |
10x30x9 |
|
10x30x9 |
|
|
|
40 |
|
6004 |
|
|
|
|
|
56 63 |
20x42x12 |
6302 |
20x35x7 |
6302 |
15x26x7 |
|
|
71 |
61905 |
|
|
|
|
|
|
|
25x42x9 |
15x42x13 |
25x35x7 |
15x42x13 |
|
|
|
50 |
|
6005 |
|
|
|
|
|
63 71 |
25x47x12 |
6303 |
25x40x7 |
30303 |
17x35x7 |
|
|
80 |
61906 |
|
|
|
|
|
|
|
30x47x9 |
17x47x14 |
30x40x7 |
17x47x15,25 |
|
|
|
60 |
|
6006 |
|
|
|
|
|
63 71 80 |
30x55x13 |
6304 |
30x47x7 |
30304 |
20x35x7 |
|
|
90 |
61907 |
|
|
|
|
|
|
|
35x55x10 |
20x52x15 |
35x47x7 |
20x52x16,25 |
|
|
|
70 |
|
6006 |
|
|
|
|
|
71 80 |
30x55x13 |
6304 |
30x47x7 |
30304 |
20x35x7 |
|
|
90 |
61907 |
|
|
|
|
|
|
|
35x55x10 |
20x52x15 |
35x47x7 |
20x52x16,25 |
|
|
|
80 |
71 80 |
32007 |
30305 |
|
30305 |
25x40x7 |
|
90 100 |
35x62x18 |
25x62x18,25 |
35x50x7 |
25x62x18,25 |
|
|
|
100 |
80 90 |
32208 |
31307 |
|
32208 31307 |
|
|
100 112 |
40x80x24,75 |
35x80x22,75 |
40x62x12 |
40x80x24,75 35x80x22,75 |
40x62x8 |
|
|
120 |
90 100 |
32208 |
31307 |
|
32208 31307 |
|
|
112 |
40x80x24,75 |
35x80x22,75 |
40x62x12 |
40x80x24,75 35x80x22,75 |
40x62x8 |
|
|
150 |
100 112 |
32211 |
31309 |
|
31309 |
|
|
132 |
55x100x22,75 |
45x100x27,75 |
55x80x10 |
45x100x27,75 |
45x75x8 |
|
|
180 |
112 132 |
31312 |
31312 |
|
31312 |
|
|
160 |
60x130x33,5 |
60x130x33,5 |
60x80x10 |
60x130x33,5 |
60x75x9 |
|

|
Эскиз червячного колеса с подшипниками и масляным уплотнением |
|||
|---|---|---|---|
|
тип |
12 |
12A |
11 |
|
28 |
6005 |
7005 |
|
|
25x47x12 |
25x47x12 |
25x40x7 |
|
|
40 |
6006 |
32006 |
|
|
30x55x13 |
30x55x17 |
30x47x7 |
|
|
50 |
6007 |
32007 |
|
|
35x62x14 |
35x62x18 |
35x50x7 |
|
|
60 |
6008 |
32008 |
|
|
40x68x15 |
40x68x19 |
35x50x7 |
|
|
70 |
6009 |
32009 |
|
|
45x75x16 |
45x75x20 |
45x60x8 |
|
|
80 |
6010 |
32010 |
|
|
50x80x16 |
50x80x2 |
50x65x8 |
|
|
100 |
6011 |
32011 |
|
|
55x90x18 |
50x90x23 |
55x72x10 |
|
|
120 |
6013 |
32013 |
|
|
65x100x18 |
65x100x23 |
65x85x12 |
|
|
150 |
6216 |
30216 |
|
|
80x140x26 |
80x140x28,25 |
80x100x10 |
|
|
180 |
6218 |
32218 |
|
|
90x160x30 |
90x160x42,5 |
90x110x12 |
|
